丝瓜APP色版,丝瓜视频官网大全,丝瓜视频污下载,第一福利丝瓜AV导航

专注军用、民用测控领域的高科技公司
为兵器、航空、航天、民用等行业提供测控校准解决方案

您所在的位置:首页 > 产品中心 > 火工品丝瓜视频污下载产品 > HGY-1A型火焰感度仪

产品中心

HGY-1A型火焰感度仪




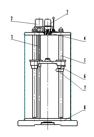
l  1 丝杠 2 步进电机 3 点火装置4 药柱模  5-立柱 6 试样模 7 锁紧旋钮  8底座 

l  起爆药、击发药、点火药、烟火药、烟花爆竹药剂等药剂的定量试样,受一定的火焰作用,观察其是否发火,计算其50%发火高度,即为火焰感度值。

l  药柱模中心线对托盘试样座中心线的不同轴度不大于R0.5mm;

l  两立柱对底座上平面的不垂直度在630毫米内不大于0.25mm;

l  底座上平面与顶盖上平面的不平行度不大于0.15mm,其不平行度由平行度调整垫调  整;

l  可以采用多种点火源:黑药柱,导火索;

l  最大试验高度不小于550mm;

l  仪器重约70Kg,外型尺寸:约450×350×792mm;

l  操作采用自动控制,全触摸操作,操作安全方便;

 


版权所有:南京丝瓜APP色版测控技术有限公司 电话:86-025-84308108
地址:南京市光华路 129-3 号南京理工大学国家科技园 A2 幢 532 室
苏ICP备22283496号 苏公网安备32010402000796号
技术支持:南京博搜网络科技有限公司南京网站建设
在线客服

微信公众号

网站地图